C02E.45抗静电通用型塑料拖链是应用范围广泛的产品,简单而多功能的组装结合坚固性,高强度配合更安静的运动,更长的电缆寿命和许多安装选项
● 消除静电,表面电阻<109Ω
● 长期使用温度:-40/+120℃
● 内高Hi:45 mm
● 内宽Bi:75-175 mm
● 弯曲半径R:75-300 mm
● 节距Pitch:67 mm



![]() | 架空长度 | ≤ 3.0m | 速度/ 加速度 FLG | ≤ 20 [m/s] / 200 [m/s² ] | |
滑行距离 | ≤ 150m | 速度/ 加速度 FLB | ≤ 3 [m/s] / 6 [m/s² ] | ||
竖直悬挂 | ≤ 80m | 滑行速度/ 加速度 | ≤ 10 [m/s] / 50 [m/s² ] | ||
垂直站立 | ≤ 3.0m | 允许温度 | -40℃ ~120℃ | ||
侧向架空 | ≤ 1.0m | 阻燃等级 | UL94 HB |

① 空白: 两侧打开。N: 仅内侧打开。 W: 仅外侧打开。
② 根据需求提供无预应力上拱度NC版本拖链
③ SV0203: 每间隔2pcs空链节安装3pcs竖分隔片
④ SH01: 横分隔件1pc 默认安装中间孔位


*如果安装空间受到限制请咨询CSB®.
| R | 075 | 100 | 125 | 150 | 200 | 250 | 300 |
| H | 214 | 264 | 314 | 364 | 464 | 564 | 664 |
| D | 208 | 233 | 258 | 283 | 333 | 383 | 433 |
| K | 370 | 450 | 530 | 610 | 765 | 920 | 1080 |
*实际安装高度:HF=H+10mm(负载 0.1kg/m)

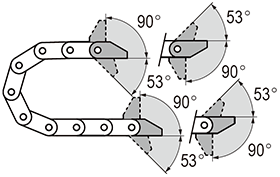
*C02E.45拖链接头安装方式示意图
*A1|A2|A3|A4订购预装配拖链请注明安装方式

*推荐架空长行程拖行应用

*可S型站立
▊DURAMOV®电缆拖链查询系统V1.1是基于CSB®实验室大量的测试数据以及拖链材料特性结合分析计算,您可以通过输入填充电缆、气管以及油管参数,并结合拖链安装尺寸参数等进行模拟计算,系统会根据输入参数校核校核拖链数据,最终输出适配的电缆拖链。
▊由于系统基于理论数据模拟计算分析可能存在无法完全符合输入参数,数据校核具有一定的局限性;CSB®建议电缆拖链在设备上需再次做测试验证以完全符合实际使用要求。
▊DURAMOV®电缆拖链查询系统输出数据信息仅供设计选型参考,不可作为最终电缆拖链符合性判定依据;如有疑问请与CSB®销售工程师联系。